Change Language :
This is how the length of the energy chains for linear movement is calculated:
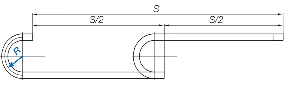
First define the fixed end, i.e. the position of the immovable connection of an energy chain. We recommend placing the fixed end in the centre of the travel path. This gives you a cost-effective solution, as less energy chain and usually less cable is required. Of course, it is also possible to place the fixed end outside the centre of the travel path.
Note:The fixed end in the centre of the travel path is always the most cost-effective solution

In unsupported applications,the upper run of the energy chain moves parallel to the lower run over the entire horizontal travel.
If the fixed end is in the centre of the travel: {{anchor:null}}L {{anchor:null}}= S2{{anchor:null}}+ K
| Abbreviation | Meaning | Unit |
|---|---|---|
| Lk | Energy chain length | [mm] |
| S/2 | Half way | [mm] |
| K | Add-on for bend radius (K is taken from the data tables of the individual series) | [mm] |
| R | Bend radius | [mm] |

For fixed end outside the centre of the travel: L = S2+ ∆M +K
| Abbreviation | Meaning | Unit |
|---|---|---|
| Lk | Energy chain length | [mm] |
| S/2 | Half way | [mm] |
| K | Add-on for bend radius (K is taken from the data tables of the individual series) | [mm] |
| ∆M | Deviation of the centre point | [mm] |
| R | Bend radius | [mm] |

A = moving end
B = fixed end
C = guide trough with glide bar
D = guide trough without glide bar
E = total guide trough length
In the case of the sliding energy supply, the energy chain slides on one half on the lower run and on the other half on a glide bar.
For fixed end in the centre of the travel: L = S2+ K
| Abbreviation | Meaning | Unit |
|---|---|---|
| Lk | Energy chain length | [mm] |
| S/2 | Half way | [mm] |
| K2 | Add-on for bend radius if the mounting point height is lowered | [mm] |
| ∆CL | Offset fixed end | [mm] |
| R | Bend radius | [mm] |
| D2 | Over length for long travels gliding | [mm] |
| H2 | Clearance height with lowered moving end | [mm] |
| HRi | Inner trough height | [mm] |

The required clearance height depends on the pretension of the energy chain with the total value HFThe dimension H
| Abbreviation | Meaning | Unit |
|---|---|---|
| H | Nominal clearance height | [mm] |
| HF | Required clearance height | [mm] |

With the "e-chain expert" energy chain configurator, you can put together your customised, ready-to-connect energy chain system in just a few steps.
In person:
Monday to Friday from 7 am - 8 pm.
Saturdays from 8 am- 12 pm.
Online:
24h
WhatsApp-Service:
Montag – Freitag: 8 – 16 Uhr