igus-icon-lupe
igus-icon-lupe
1 of 2
- Free of halogens, phosphorus and cadmium
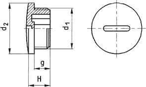
- Parts with metric thread: PA-GF
- IP54
- Temperature range: -20°C to +60°C; short-term +100°C
- Material: Fibreglass reinforced polyamide light grey
igus-icon-lieferzeit-dotI-514-M12
M12 x1.5
